Logo
Logo

Hardwell

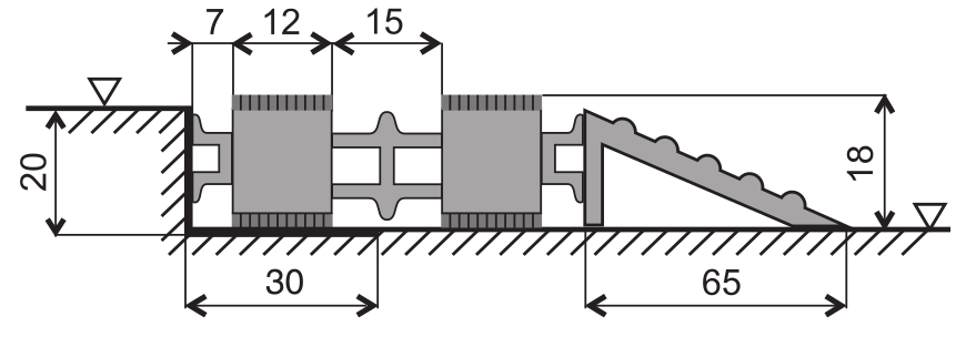
Gumi profilok poliamid kitöltéssel szilárdan összekötve az alumínium profilokkal. A szőnyeg magassága 18 mm.

A Hardwell szilárd szennyfogóból és a nagyméretű beléptető terekben (repülőterek, áruházak és bevásárlóközpontok) elhelyezett szennyfogó zónák teljesítik az üzemi járművek, illetve az áthaladó személyek hatékony tisztításának követelményeit. A szőnyeg gumiprofilokból készül poliamid kitöltéssel, amelyek szilárdan és mozdulatlanul kapcsolódnak az alusínekhez. Ez a szennyfogó szőnyeg összetétel és kombináció biztosítja a szennyeződések tökéletes eltávolítását bel- és kültérben egyaránt.

A szőnyegek szilárd modullal készülnek, így nem feltekerhetők. A modulok gond nélkül elviselik a nehéz járművek, például targoncák vagy személyautók áthaladását. A modulok forgathatók, és mindkét oldaluk használható.

Műszaki adatok

Anyag és színek